一种无轴承开关磁阻电机及其控制方法
来源:徐楠
发布时间:2015-04-23
一种无轴承开关磁阻电机及其控制方法
完成单位:南京邮电大学自动化学院
成果联系人:杨艳职称:讲师
E-mail:yangyan0405@njupt.edu.cn
成果介绍:
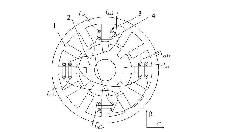
无轴承开关磁阻电机转矩和悬浮力间存在复杂耦合关系,且很难在控制策略和数学模型中实现二者的完全解耦,是制约无轴承开关磁阻电机悬浮和运行性能难以提高的重要因素。针对上述技术问题,提出了一种无轴承开关磁阻电机及其控制方法。在优化设计12/8极双绕组无轴承开关磁阻电机定子、转子间极弧关系的基础上,提出了该电机的一种控制方法。该控制方法解决了悬浮力和转矩的解耦问题,简单有效,并且使绕组的铜耗最小。
该方法可应用于航空航天等高速、超高速传动领域。

